GWMS行业指南
1. 功能概述
1.1 功能简介
GWMS行业指南功能是报价管理模块的重要组成部分,为仓库管理人员提供各业务类型的收费标准配置和管理功能。系统支持五种主要业务类型的收费标准设置,包括一件代发、备货中转、拆柜转运、贴标换标和退货处理,帮助用户建立标准化的行业服务指南。
1.2 适用场景
- 配置和管理不同业务类型的收费标准
- 设置各业务类型的计费项和价格
- 维护行业服务指南的标准化内容
- 为预定义报价和业务报价提供基础模板
- 统一各业务类型的服务标准和收费规范
1.3 功能价值
- 标准化管理:提供统一的行业服务指南标准
- 灵活配置:支持各业务类型计费项的个性化配置
- 模板复用:为预定义报价提供标准化模板
- 易于维护:集中管理所有业务类型的收费标准
- 透明展示:清晰展示各项服务的收费标准
2. 前置条件
2.1 系统要求
- 需要仓库管理人员权限或更高级别权限
- 系统中已配置相关业务类型和计费项
- 确保网络连接稳定,支持数据展示和操作
2.2 数据准备
- 确保系统中已创建五种主要业务类型:一件代发、备货中转、拆柜转运、贴标换标和退货处理
- 相关计费项基础资料已配置完成
- 各业务类型的收费标准已初步制定
2.3 操作权限
- 查看权限:所有仓库用户均可查看行业指南信息
- 配置权限:需要报价管理权限才能编辑行业指南
- 应用权限:需要客户管理权限才能将指南应用到具体业务
3. 操作步骤
3.1 步骤一:访问GWMS行业指南功能
目的:进入GWMS行业指南管理界面,开始相关操作 操作:
- 登录GWMS系统后,在左侧导航菜单中找到"报价与业务"模块
- 展开"报价与业务"菜单,点击"GWMS行业指南"选项
- 系统将跳转到GWMS行业指南主界面

注意事项:
- 确保已使用具有行业指南查看权限的账号登录
- 首次加载可能需要较长时间,请耐心等待
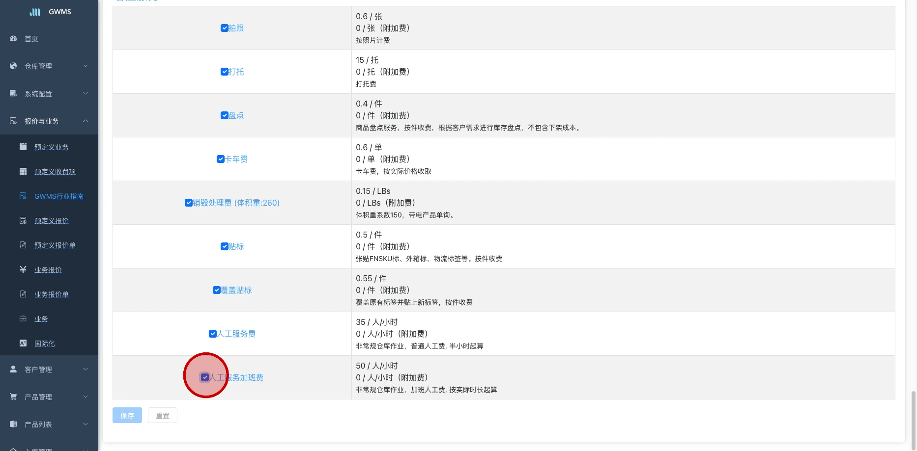
3.2 步骤二:查看业务类型详情
目的:查看各业务类型的详细收费标准 操作:
- 在GWMS行业指南主界面,可以看到五种业务类型的标签页
- 点击相应业务类型的标签页,查看该业务的详细收费标准
- 界面显示该业务类型各阶段的计费项和价格信息
- 可以展开查看每个计费项的详细配置

注意事项:
- 每个业务类型都有其特定的收费标准和服务内容
- 计费项可能包含多个子项,需要逐一查看
- 价格信息可能根据不同的范围或条件有所变化
3.3 步骤三:编辑计费项
目的:编辑特定业务类型的计费项配置 操作:
- 在相应业务类型的详情页面,找到需要编辑的计费项
- 点击计费项右侧的"编辑"按钮
- 系统将弹出计费项编辑窗口
- 可以修改计费项的名称、基础价格、附加费、范围等信息

注意事项:
- 编辑功能需要相应的报价管理权限
- 修改计费项会影响基于该模板生成的所有报价单
- 建议在修改前备份当前配置
3.4 步骤四:修改计费项信息
目的:调整计费项的具体配置信息 操作:
- 在计费项编辑窗口中,可以修改以下信息:
- 名称:计费项的显示名称
- 基础价格:该项的基础收费标准
- 附加费:额外的费用项目
- 范围:适用的范围条件
- 根据实际业务需求调整各项配置
- 点击"确定"按钮保存修改

注意事项:
- 修改后的配置将应用到预定义报价的默认模板中
- 建议在修改后进行测试验证
- 重要的配置修改应做好记录
3.5 步骤五:保存修改
目的:保存对计费项的修改 操作:
- 在完成计费项信息的修改后,点击"确定"按钮
- 系统将保存修改并更新行业指南配置
- 可以继续编辑其他计费项或返回主界面

注意事项:
- 保存操作会立即生效
- 建议在保存后检查配置是否正确
- 如有错误可及时进行修正
3.6 步骤六:应用到业务报价
目的:将修改后的行业指南应用到业务报价中 操作:
- 保存计费项修改后,系统会自动更新预定义报价中的默认模板
- 可以在"预定义报价"或"业务报价"功能中查看更新后的模板
- 基于新模板为客户生成业务报价单

注意事项:
- 应用操作会更新所有基于该模板的报价单
- 建议通知相关业务人员配置已更新
- 对于已生成的报价单,需要手动更新
4. 结果说明
4.1 成功结果
- GWMS行业指南数据正确展示在界面中
- 查看功能能够准确显示各业务类型的收费标准
- 编辑功能成功保存并更新计费项配置
- 修改后的配置成功应用到预定义报价模板中
- 基于新模板可以生成符合最新标准的业务报价单
4.2 异常处理
- 如果没有正确显示业务类型数据,检查系统配置是否完整
- 编辑功能失败时,检查网络连接和权限设置
- 保存操作失败时,确认数据格式是否正确
- 应用操作未生效时,检查相关功能模块的同步状态
- 页面加载缓慢时,检查网络连接或稍后重试
5. 常见问题
5.1 问题一:无法编辑计费项
问题现象:点击编辑按钮后无响应或提示权限不足 可能原因:
- 当前用户没有编辑权限
- 系统正在进行维护
- 网络连接不稳定 解决方案:
- 检查当前账号是否具有报价管理权限
- 确认系统是否处于维护状态
- 检查网络连接是否稳定
- 联系系统管理员确认权限配置
5.2 问题二:修改未生效
问题现象:保存修改后,相关报价单未更新 可能原因:
- 数据同步延迟
- 修改的计费项未正确关联到报价模板
- 系统缓存未及时更新 解决方案:
- 等待一段时间后再次检查
- 确认修改的计费项是否正确关联
- 尝试刷新页面或重新登录系统
- 联系技术支持检查数据同步状态
5.3 问题三:业务类型显示不完整
问题现象:界面中只显示部分业务类型 可能原因:
- 系统配置不完整
- 当前用户权限限制
- 数据加载异常 解决方案:
- 检查系统中是否已创建所有业务类型
- 确认当前账号是否具有查看所有业务类型的权限
- 刷新页面重新加载数据
- 联系管理员确认系统配置
6. 注意事项
6.1 操作规范
- 在执行编辑操作前,请确认修改内容的准确性和必要性
- 建议在修改前备份当前配置,以防需要回滚
- 重要的配置修改应通知相关业务人员
- 定期检查各业务类型的收费标准是否需要更新
6.2 数据安全
- 行业指南数据属于敏感信息,请勿随意分享相关截图或文件
- 编辑操作会直接影响所有基于该模板生成的报价单,请谨慎操作
- 重要的配置修改应做好记录和版本管理
- 注意保护客户价格信息的机密性
6.3 性能考虑
- 大量数据加载时可能影响系统响应速度,建议在网络状况良好时进行操作
- 频繁的编辑操作可能增加系统负载
- 建议在系统使用低峰期进行重要的配置修改
- 在网络状况不佳时,建议减少复杂操作
7. 相关功能
7.1 前置功能
- [[预定义业务]]:需要先创建和配置业务类型
- [[预定义收费项]]:需要先定义系统中的收费项目
- [[基础资料配置]]:业务类型、计费项等基础信息需要预先配置
- [[用户权限设置]]:确保用户具有相应的行业指南查看和操作权限
7.2 后续功能
- [[预定义报价]]:基于行业指南创建预定义报价模板
- [[业务报价]]:为客户生成具体的业务报价单
- [[报价分析]]:分析各业务类型的报价使用情况和效果
7.3 关联功能
- [[GWMS行业服务指南]]:查看行业服务指南的详细说明文档
- [[一件代发]]:一件代发业务类型的详细配置
- [[备货中转]]:备货中转业务类型的详细配置
- [[拆柜转运]]:拆柜转运业务类型的详细配置
- [[贴标换标]]:贴标换标业务类型的详细配置
- [[退货处理]]:退货处理业务类型的详细配置
8. 版本历史
| 版本 | 更新日期 | 更新内容 | 更新人 |
|---|---|---|---|
| 1.0 | 2025-08-28 | 初始版本,基于真实系统操作优化文档结构,增加详细功能说明和完整操作流程 | 王瀚霆 |
文档标签
#行业指南 #报价管理 #仓库管理 #计费项配置 #业务类型
交叉引用
- [[预定义业务]]:管理系统的预定义业务类型
- [[预定义收费项]]:管理系统中的预定义收费项目
- [[业务报价]]:为客户创建具体的业务报价单
- [[预定义报价]]:创建和管理预定义报价模板
- [[一件代发]]:一件代发业务类型的详细配置
- [[备货中转]]:备货中转业务类型的详细配置
- [[拆柜转运]]:拆柜转运业务类型的详细配置
- [[贴标换标]]:贴标换标业务类型的详细配置
- [[退货处理]]:退货处理业务类型的详细配置
搜索建议
如果您在此文档中找不到所需信息,可以尝试:
- 使用系统搜索功能搜索关键词"行业指南"或"收费标准"
- 查看[[报价管理]]相关文档
- 联系技术支持团队